CarJack: CAD & Assembly
CAD model, 3D print, laser, CNC, Milling
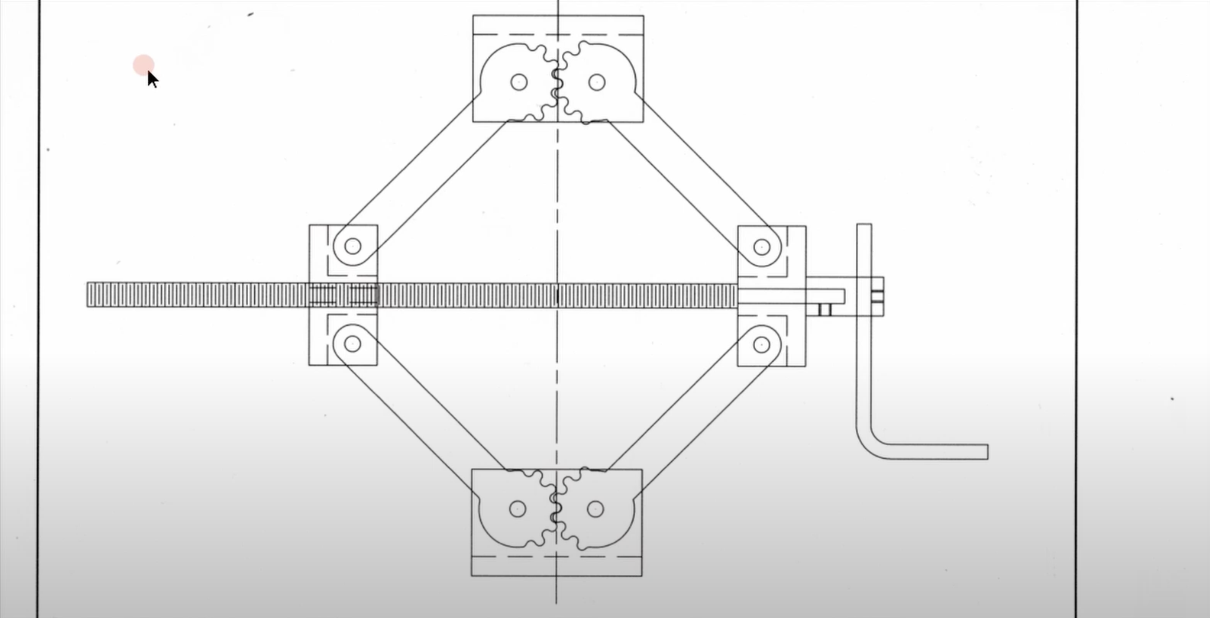
- I built a gear-synchronized scissor lift to demonstrate smooth, symmetric motion from one input. I drove it like an engineering build: fix the critical interfaces, tolerance from those, and use serviceable hardware so the mechanism feels precise and intentional.
- Modeled everything in SolidWorks (parametric links, sector gears, lead-screw travel), generated CAM, rough-cut stock on the bandsaw, then CNC-milled and faced the acrylic bearing blocks. I laser-cut and 3D-printed link and gear prototypes, profiled finals, reamed all bores for shoulder screws and dowel pins, tapped the nut and hubs, deburred, dry-fit, and tuned mesh until there was zero bind.
- The true challenge was acrylic. It chips and melts fast, so I ran single-flute tools, light step-downs, and constant coolant. One lapse ruins the part—any late-pass miscalculation meant remaking a block from scratch.